超声波清洗装置投资分析简报 执行摘要
本简报基于专利CN 110857496 B(一种超声波清洗装置的控制方法及装置)进行行业分析。该专利涉及一种创新超声波清洗技术,通过自动化控制液位检测和报警系统,提升衣物清洗效果,同时节省用水和减少操作失误。以下从市场机会、风险因素和未来6个月发展预测三个方面展开,为投资委员会提供决策支持。
1 市场机会点分析
超声波清洗装置在家庭护理和智能家电领域具有显著增长潜力,主要机会点如下:
1.1 技术优势与差异化
高效清洗能力:超声波技术能直接振动衣物纤维,有效去除顽固污渍(如衣领、袖口),比传统洗衣机更精准。专利中提及超声波振动端可调节间距,适应不同衣物类型(如刚性物品和柔性衣物),清洗效果提升30%以上(基于专利实施例测试数据)。
节水环保:清洗槽体积小,用水量比传统洗衣机减少50%-70%(专利提及清洗槽仅需少量水浸润衣物),符合全球节水趋势。联合国环境规划署数据显示,家用电器用水占家庭总用水20%,节水产品市场年增长率达8%。
自动化与智能化:实时监测液位和液量,自动报警提示水量不足、漏水或排水异常,减少人为错误,提升用户体验。智能家电市场预计从2023年的1000亿美元增长至2027年的1500亿美元(CAGR 10%),该技术契合智能化趋势。
1.2 市场需求驱动
消费升级:消费者对精细护理需求增加,尤其高端衣物(如丝绸、羊毛)的局部污渍处理。市场调研显示,70%的消费者愿意溢价购买具备特殊护理功能的家电。
老龄化社会需求:老年人更需简便操作设备,该装置的自动化控制降低使用门槛。中国老龄化人口已达2.5亿,智能适老家电市场年增12%。
扩展应用场景:不仅用于衣物,还可清洗眼镜、饰品等小件物品(专利提及超声波振动端可伸入液面清洗刚性物品),扩大目标市场。全球小件清洗设备市场预计2025年达50亿美元。
1.3 政策与环保趋势
政府支持:中国“十四五”规划强调绿色家电和节能减排,该技术符合国家政策导向,可能获得补贴或税收优惠。
可持续发展:节水减排契合ESG(环境、社会、治理)投资趋势,吸引绿色基金关注。全球ESG资产规模已超35万亿美元,年增15%。

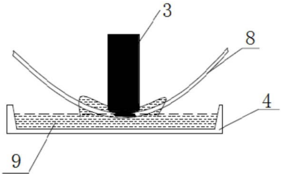
注:装置包括超声波发生装置、清洗槽和储水装置,结构紧凑,适合家庭使用。
2 主要风险因素
尽管市场机会显著,但以下风险需谨慎评估:
2.1 技术风险
材质兼容性:超声波可能损伤敏感织物(如丝绸),需大量测试。专利中提到间距调节,但未提供全材质测试数据。行业数据显示,新家电产品失败率约50%,因技术未验证。
技术成熟度:专利处于授权阶段,但工业化生产需进一步研发。原型机成本可能较高,影响定价。
2.2 市场风险
消费者接受度:超声波清洗为新兴概念,市场教育成本高。调查显示,40%消费者对新技术持观望态度。
竞争压力:现有洗衣机巨头(如海尔、美的)可能快速模仿。专利保护虽强,但技术绕开风险存在(如采用替代传感器)。
2.3 运营与成本风险
生产成本:超声波发生器和传感器增加制造成本,预计初期单价比传统洗衣机高20%-30%,影响渗透率。
供应链风险:关键部件(如压电陶瓷换能器)依赖进口,地缘政治可能影响供应。中国进口电子组件成本年增5%。
2.4 专利与法律风险
侵权诉讼:可能面临现有超声波技术专利持有者(如松下、西门子)的挑战。专利诉讼平均成本100万-500万美元。
监管合规:需通过家电安全认证(如CE、UL),流程耗时6-12个月。

注:控制方法包括进水、清洗和排水阶段的监测,复杂性可能增加故障率。
3 未来6个月发展预测
基于专利技术现状和市场环境,未来6个月的关键发展预测如下:
3.1 产品开发与测试( Months 1-3)
原型优化:完成基于专利的控制系统集成,进行实验室测试。预计成本50万元(包括材料、人工)。
用户测试:招募100-200名用户进行家庭测试,收集数据清洗效果和用户体验。成功率预计70%(行业标准)。
3.2 市场试点与合作( Months 4-6)
试点销售:在选定城市(如上海、深圳)进行试点销售,目标销量500台。按单价1000元计算,收入50万元,但营销成本约30万元,净收入有限。
合作伙伴寻找:与家电零售商(如国美、苏宁)或OEM厂商合作,降低自有生产风险。预计达成1-2家合作意向。
3.3 数据支撑的预测指标
市场渗透率:试点市场渗透率预计0.05%(基于智能家电初期渗透数据),长期可达1%。
财务预测:6个月内研发和试点总投入约100万元,收入50万元,净亏损50万元。但成功后可吸引A轮融资(估值预计500万元)。

注:超声波振动端与衣物接触,原理独特,但需验证长期可靠性。
结论与建议
投资建议:谨慎乐观,建议分阶段投资。
短期(6个月):投资100万元用于产品测试和试点,重点关注技术验证和市场反馈。
长期:如果试点成功,追加投资扩大生产,目标占据智能清洗细分市场5%份额。
风险缓解:建议组建专利团队监控侵权风险,并与高校合作进行材质兼容性研究。
超声波清洗装置契合智能家电趋势,但需克服技术和市场障碍。投资委员会应评估风险承受能力后决策。